Naše firma je vlastníkem následujících patentů a užitných vzorů.
8.11.2004
Patent č. 294454 – Způsob výroby rozptylovací trubky pro odsiřovací jednotku tepelné elektrárny

Při způsobu výroby rozptylovací trubky (1) pro přívod spalin do reaktoru odsiřovací jednotky tepelné elektrárny se na vnější povrch (4) trubkovitého tělesa (2) těsně umístí neznázorněná forma, jejíž dutina se pod tlakem vyplní roztaveným plastem, čímž dojde k jeho natavení na vnější povrch (4) trubkovitého tělesa (2) a tím současně ke spojení. Po ztuhnutí plastu se forma z vnějšího povrchu (4) trubkovitého tělesa (2) odstraní, přičemž dutina formy svým vnitřním tvarem odpovídá vnějšímu tvaru instalačního nákružku (3), pevně spojeného s trubkovitým tělesem (2). Otvory (6) ve stěně (5) trubkovitého tělesa (2) zajišťují rozptýlení a odsíření kouřových spalin
29.10.2009
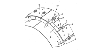
Patent č. 638 – Ústí spalovacího hořáku

Podstata řešení ústí (20) spalovacího hořáku spočívá v tom, že plošné segmenty (1) jsou uloženy v prostoru mezi vnitřním prstencem (2) a vnějším prstencem (4), které jsou vzájemně vůči sobě částečně přesazeny a spolu spojeny prostřednictvím nosné příruby (3), která tvoří současně dorazovou plochu pro plošné segmenty (1). Sousedící boční stěny (17) plošných segmentů (1) jsou opatřeny vybráním (18) pro vložení čepu (9), jehož horní část je vyvedena stěnou vnějšího prstence (4) nad vnější plochu (19) vnějšího prstence (4) a zakončena podložkou (10) pevně spojenou jednak s čepem (9) a jednak s vnější plochou (19) vnějšího prstence (4). Spodní část čepu (9) je pevně spojena s plochou opěrou (11), s níž je ve styku část spodní plochy (21) každé sousední dvojice plošných segmentů (1). Plošné segmenty (1) jsou ze žáruvzdorné keramiky nebo ze žáruvzdorné ocele na odlitky nebo ze žáruvzdorné ocele. Žáruvzdorná keramika je na bázi oxidu hlinitého (Al2O3) nebo na bázi karbidu křemíku (SiC). Vnější povrch vnitřního prstence (2) je opatřen výztužnými žebry (7), pevně spojenými s nosnou přírubou (3) a s vnitřním prstencem (2).
11.3.2002
Užitný vzor č. 12073 – Výměnný koš tepelného regeneračního výměníku
2.1.2003
Užitný vzor č. 12887 – Odlučovač kapek z plynných médií, zejména vodních kapek příkladně z kouřových plynů
13.2.2006
Užitný vzor č. 16274 – Ústí práškového hořáku
30.3.2009
Užitný vzor č. 19469 – Konstručkní úprava odsiřovacího bloku elektrárenského kotle